Performance Metals Aluminium Anode Trim Fin Flat Mercruiser Bravo
00049A 5 Year Warranty
Performance Metals Aluminium Anode Trim Fin Flat Mercruiser Bravo is backordered and will ship as soon as it is back in stock.
Couldn't load pickup availability
FAST FREE UK STANDARD SHIPPING*
FAST FREE UK STANDARD SHIPPING*
• Express delivery £7.99 (Monday-Friday, orders placed before 1pm)
• Click here for more delivery information
60 DAY NO QUIBBLE RETURNS
60 DAY NO QUIBBLE RETURNS
• 60 days hassle-free returns. - exclusions apply
Description
Description
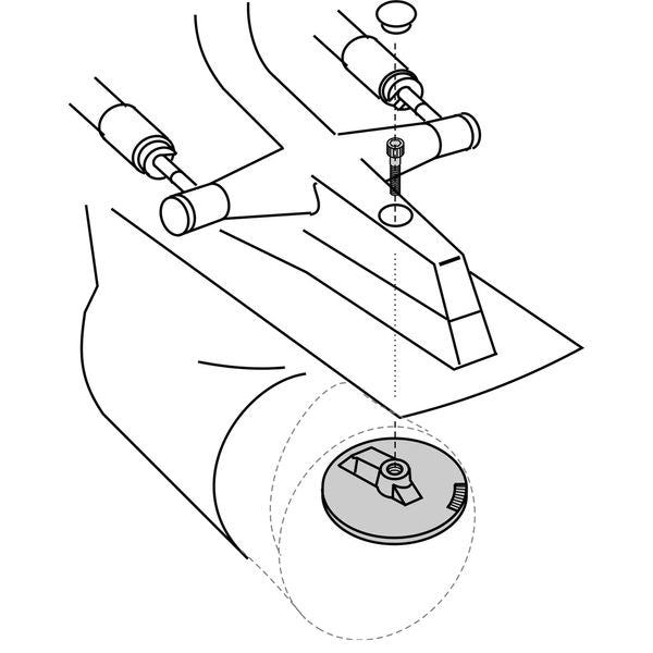
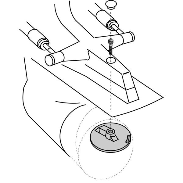
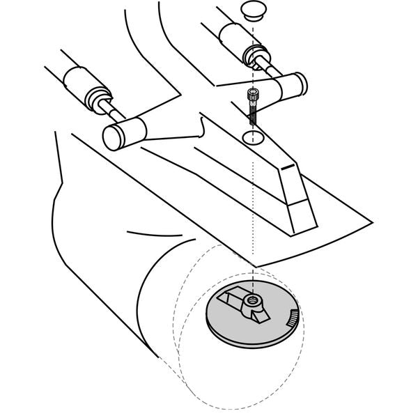
Performance Metals Navalloy Trim Tab Anode Flat used on all large Mercury outboards and Mercruiser Alpha 1 Gen II and all Bravo outdrives. Replaces Mercury 76214Q 5.
This anode includes the exclusive, patented "red spot" wear indicator and is manufactured to the military specification MIL-DTL 24779, making it suitable for use in all water types - salt, brackish or fresh.
Note: Aluminium anodes are supplied as standard with Mercury and Mercruiser drives. Use of zinc anodes will invalidate the warranty.
Features
Features
Specifications
Specifications


